• <tr id="ii00i"></tr>
  • <nav id="ii00i"><sup id="ii00i"></sup></nav>
  • <nav id="ii00i"></nav>
  • <tfoot id="ii00i"><noscript id="ii00i"></noscript></tfoot>
    <tfoot id="ii00i"><noscript id="ii00i"></noscript></tfoot>
  • <tfoot id="ii00i"><noscript id="ii00i"></noscript></tfoot>
    天天成人综合网,亚洲人妻资源网,欧美精品网,国产黑丝袜在线观看视频,蜜桃av一卡二卡三卡,激情综合图区,亚洲avav,亚洲av电影天堂网

    您好!歡迎光臨烜芯微科技品牌官網!

    深圳市烜芯微科技有限公司

    ShenZhen XuanXinWei Technoligy Co.,Ltd
    二極管、三極管、MOS管、橋堆

    全國服務熱線:18923864027

  • 熱門關鍵詞:
  • 橋堆
  • 場效應管
  • 三極管
  • 二極管
  • 高速光電二極管信號調理電子線路圖介紹
    • 發布時間:2025-08-08 19:23:22
    • 來源:
    • 閱讀次數:
    高速光電二極管信號調理電子線路圖介紹
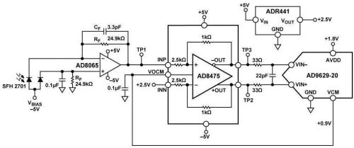
    本文聚焦于一款高速光電二極管信號調理電路,其具備暗電流補償功能,旨在高效轉換高速硅 PIN 光電二極管產生的電流,并驅動 20MSPS 模數轉換器(ADC)輸入。該電路組合在 400nm 至 1050nm 頻譜范圍內,展現出 49nA 的光電流靈敏度、91dB 的動態范圍以及 2MHz 的帶寬,采用 ±5V 電源供電,功耗僅 40mA,適用于便攜式高速、高分辨率光強度應用,如脈搏血氧儀(如圖 1 所示為該電路原理示意,未顯示所有連接和去耦)。
    高速光電二極管,信號調理,線路圖
    一、應用拓展
    此電路憑借卓越性能,除主要用于高精度光強度檢測外,還可靈活運用于模擬光隔離器領域。同時,對于那些對帶寬要求更高而分辨率需求相對較低的應用場景,例如自適應速度控制系統,該電路同樣能夠勝任,展現出其廣泛的適用性。
    二、電路優化設計要點
    為滿足特定帶寬應用需求,本電路筆記深入探討圖 1 所示電路的優化設計流程,涵蓋穩定性計算、噪聲分析以及器件選型考量等多個關鍵環節,力求在復雜的應用背景下,實現電路性能的精準調配。
    三、光電二極管工作特性
    光電二極管作為一種高阻抗傳感器,主要用于光強度檢測,雖無內部增益,但在高光級應用中優勢顯著。其工作模式可分為零偏置(光伏)模式與反向偏置(光導)模式。光伏模式下可實現最為精確的線性運算;而光導模式則側重于提升開關速度,不過會相應犧牲部分線性度。特別值得注意的是,在反向偏置狀態下,即使無光照,也會出現少量暗電流。針對這一問題,可通過在運算放大器同相輸入端引入第二個相同型號的光電二極管,有效抵消暗電流誤差,具體連接方式如圖 1 所示。
    四、光電二極管響應時間影響因素
    光電二極管的響應時間受三個關鍵因素影響:
    耗盡區域內載流子的充電收集時間;
    未耗盡區域內載流子的充電收集時間;
    二極管電路組合的 RC 時間常數。
    鑒于結電容與光電二極管的擴散區及施加的反向偏置緊密相關,選用擴散區較小的光電二極管并配合較大反向偏置,能夠有效縮短上升時間。在 CN-0272 電路筆記中,采用的 SFH2701PIN 光電二極管結電容典型值在 0V 偏置時為 5pF,而在 1V 反向偏置時降至 2pF,5V 反向偏置時進一步降低至 1.7pF。本電路的所有測量均在 5V 反向偏置條件下完成。
    〈烜芯微/XXW〉專業制造二極管,三極管,MOS管,橋堆等,20年,工廠直銷省20%,上萬家電路電器生產企業選用,專業的工程師幫您穩定好每一批產品,如果您有遇到什么需要幫助解決的,可以直接聯系下方的聯系號碼或加QQ/微信,由我們的銷售經理給您精準的報價以及產品介紹
    聯系號碼:18923864027(同微信)
     
    QQ:709211280

    相關閱讀