• <tr id="ii00i"></tr>
  • <nav id="ii00i"><sup id="ii00i"></sup></nav>
  • <nav id="ii00i"></nav>
  • <tfoot id="ii00i"><noscript id="ii00i"></noscript></tfoot>
    <tfoot id="ii00i"><noscript id="ii00i"></noscript></tfoot>
  • <tfoot id="ii00i"><noscript id="ii00i"></noscript></tfoot>
    天天成人综合网,亚洲人妻资源网,欧美精品网,国产黑丝袜在线观看视频,蜜桃av一卡二卡三卡,激情综合图区,亚洲avav,亚洲av电影天堂网

    您好!歡迎光臨烜芯微科技品牌官網!

    深圳市烜芯微科技有限公司

    ShenZhen XuanXinWei Technoligy Co.,Ltd
    二極管、三極管、MOS管、橋堆

    全國服務熱線:18923864027

  • 熱門關鍵詞:
  • 橋堆
  • 場效應管
  • 三極管
  • 二極管
  • 拉電流與灌電流的概念的區別介紹
    • 發布時間:2025-05-24 18:16:57
    • 來源:
    • 閱讀次數:
    拉電流與灌電流的概念的區別介紹
    精準把握拉電流與灌電流的概念及其特性,對于實現高效、穩定電路設計至關重要。二者作為衡量電路輸出驅動能力的關鍵參數,廣泛應用于數字電路中,以下將詳細剖析其內涵、區別及應用。
    一、核心概念
    拉電流,即當邏輯門或輸出端口輸出高電平時,向負載提供的電流。此時電流方向是從輸出端口向外流動,故稱“拉”電流。例如,當輸出高電平使 LED 點亮,電流從輸出端口流出,驅動 LED 發光,這便體現了拉電流的作用。
    灌電流則是當邏輯門或輸出端口輸出低電平時,由負載流向輸出端口的電流。電流方向與拉電流相反,從外部流入輸出端口,因此得名“灌”電流。若輸出低電平使 LED 亮起,電流從 LED 流向輸出端口,這就是灌電流在發揮作用。
    數字電路中僅有高、低兩種電平。高電平輸出時,輸出端為負載供電,電流數值即拉電流;低電平時,輸出端吸收負載電流,數值稱為灌電流。
    拉電流 灌電流
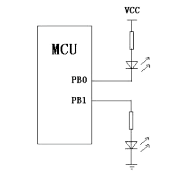
    圖示中,PB0 輸出 0,LED 亮起,電流流向 PB0,是灌電流;PB1 輸出 1,LED 亮起,電流從 PB1 流出,是拉電流。
    二、關鍵區別
    (一)驅動能力
    多數邏輯電路(如數字電路、單片機)和模擬電路(如運放、比較器),拉電流能力較弱,常僅幾毫安(小于 5mA),灌電流能力則相對較強,可達 5~10mA。
    拉電流 灌電流
    (二)電流流向
    灌電流從負載流向電源,拉電流從電源流向負載。灌電流是信號源或電源流出的電流,拉電流是電路元件吸收或接收的電流。
    三、應用場景
    灌電流常用于驅動電路,如 LED 燈、電機等,需從電源獲取電能驅動負載。拉電流多見于充電電路,如電池充電器、USB 充電器等,負責將電能從電源傳輸到負載充電。
    四、電路設計要求
    灌電流模式下,電路設計需考慮負載電阻和功率需求,確保電路提供足夠驅動電流。拉電流模式下,電路設計要兼顧電源輸出能力和負載充電需求,保障充電過程中電壓、電流充足。
    在數字電路及各類電子設備的電路設計中,深入理解拉電流與灌電流特性及差異,精準把握設計要點,對提升電路性能、優化能源轉換效率、保障設備穩定運行具有關鍵意義。
    〈烜芯微/XXW〉專業制造二極管,三極管,MOS管,橋堆等,20年,工廠直銷省20%,上萬家電路電器生產企業選用,專業的工程師幫您穩定好每一批產品,如果您有遇到什么需要幫助解決的,可以直接聯系下方的聯系號碼或加QQ/微信,由我們的銷售經理給您精準的報價以及產品介紹
     
    聯系號碼:18923864027(同微信)
     
    QQ:709211280

    相關閱讀